ALPHA MICROSYSTEMS
AM-740
|
Card Type |
Memory |
|
Maximum Onboard Memory |
128MB |
|
I/O Options |
Board connector (1) |
|
Data Bus |
VMEbus |
|
CONNECTIONS | |||
|
Purpose |
Location |
Purpose |
Location |
|
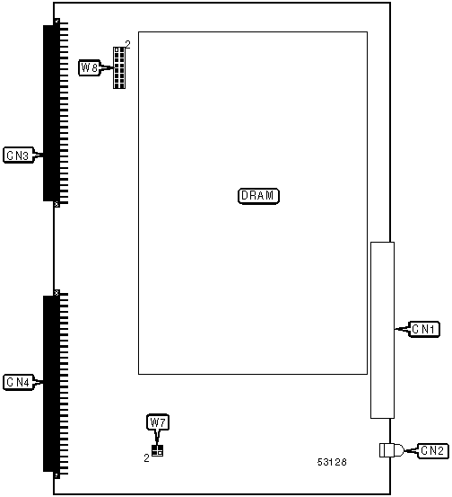
Board connector |
CN1 |
VMEbus |
CN3 |
|
Parity status LED |
CN2 |
VMEbus |
CN4 |
|
DRAM CONFIGURATION |
|
Note: The size and number of chips are unidentified. This memory board will be factory installed with 4MB, 8MB or 12MB. |
|
BASE MEMORY SELECTION | |
|
Size |
W8 |
|
None |
1 & 2, 3 & 4, 5 & 6, 7 & 8, 9 & 10, 11 & 12, 13 & 14, 15 & 16 |
|
4MB |
Open |
|
8MB |
1 & 2 |
|
12MB |
3 & 4 |
|
16MB |
1 & 2, 3 & 4 |
|
20MB |
5 & 6 |
|
24MB |
1 & 2, 5 & 6 |
|
28MB |
3 & 4, 5 & 6 |
|
32MB |
1 & 2, 3 & 4, 5 & 6 |
|
36MB |
7 & 8 |
|
40MB |
1 & 2, 7 & 8 |
|
44MB |
3 & 4, 7 & 8 |
|
48MB |
1 & 2, 3 & 4, 7 & 8 |
|
52MB |
5 & 6, 7 & 8 |
|
56MB |
1 & 2, 5 & 6, 7 & 8 |
|
60MB |
3 & 4, 5 & 6, 7 & 8 |
|
64MB |
1 & 2, 3 & 4, 5 & 6, 7 & 8 |
|
68MB |
9 & 10 |
|
72MB |
1 & 2, 9 & 10 |
|
76MB |
3 & 4, 9 & 10 |
|
80MB |
1 & 2, 3 & 4, 9 & 10 |
|
84MB |
5 & 6, 9 & 10 |
|
88MB |
1 & 2, 5 & 6, 9 & 10 |
|
92MB |
3 & 4, 5 & 6, 9 & 10 |
|
96MB |
1 & 2, 3 & 4, 5 & 6, 9 & 10 |
|
100MB |
7 & 8, 9 & 10 |
|
104MB |
1 & 2, 7 & 8, 9 & 10 |
|
108MB |
3 & 4, 7 & 8, 9 & 10 |
|
112MB |
1 & 2, 3 & 4, 7 & 8, 9 & 10 |
|
116MB |
5 & 6, 7 & 8, 9 & 10 |
|
120MB |
1 & 2, 5 & 6, 7 & 8, 9 & 10 |
|
124MB |
3 & 4, 5 & 6, 7 & 8, 9 & 10 |
|
128MB |
1 & 2, 3 & 4, 5 & 6, 7 & 8, 9 & 10 |
|
Note: If this memory board is used with an AM-175 CPU board (AM-1500 series), W8 must be set as follows: Pins 11 & 12, 13 & 14, 15 & 16 closed. If the AM-1500 is used, only 16MB are available. Any memory above 16MB will be automatically disabled. Before this board can be installed in an AM-1500, a 4MB memory board must be installed. Pins designated should be in the closed position. | |
|
TIMING DETECTION SELECTION | |
|
CPU board used |
W7 |
|
AM-175 |
Pins 2 & 4 closed |
|
AM-180 |
Pins 2 & 4 closed |
|
AM-185 |
Open |
|
AM-185 (50) |
Pins 1 & 3, 2 & 4 closed |