CONNER PERIPHERALS, INC.
CTT8000R-S
|
Device Type |
Tape Drive |
|
Interface |
SCSI-2 |
|
Format |
QIC-WIDE, Travan TR-4, Quarter Inch |
|
Sustained Transfer Rate |
600KBPS |
|
Size |
3.5 in. half height |
|
View |
Bottom |
|
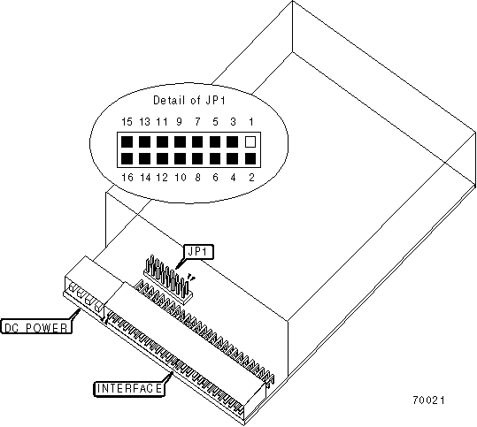
USER CONFIGURABLE SETTINGS | |||
|
Setting |
Label |
Position | |
|
Parity enabled |
JP1/Pins 7 & 8 |
Closed | |
|
Parity disabled |
JP1/Pins 7 & 8 |
Open | |
| » |
Factory configured - do not alter. |
JP1/Pins 9 & 10 |
Unidentified |
| » |
Factory configured - do not alter. |
JP1/Pins 11 & 12 |
Unidentified |
|
Active termination enabled |
JP1/Pins 13 & 14 |
Closed | |
|
Active termination disabled |
JP1/Pins 13 & 14 |
Open | |
|
DRIVE SELECT ID | |||
|
Drive ID |
JP1/Pins 1 & 2 |
JP1/Pins 3 & 4 |
JP1/Pins 5 & 6 |
|
0 |
Open |
Open |
Open |
|
1 |
Open |
Open |
Closed |
|
2 |
Open |
Closed |
Open |
|
3 |
Open |
Closed |
Closed |
|
4 |
Closed |
Open |
Open |
|
5 |
Closed |
Open |
Closed |
|
6 |
Closed |
Closed |
Open |
|
7 |
Closed |
Closed |
Closed |
|
TERMINATION POWER SELECTION | ||
|
Setting |
JP1/Pins 15 & 16 | |
| » |
TERMPWR supplied by drive |
Closed |
|
TERMPWR supplied by SCSI interface to drive |
Open | |
|
MANUFACTURERS RECOMMENED MEDIA | ||
|
Tape |
Capacity Without Compression |
Capacity With Compression |
|
Travan 740 Ft. (Conner® 8000 TR4; 3M® Travan TR-4) |
4.0GB |
8.0GB |
|
Standard 900 Oe 400 Ft. (3M® miniMAGNUS 3080) |
1.6GB |
3.2GB |
|
QIC Wide 900 Oe 400 Ft. (Conner® 4000QT; Sony® QW3095XLF) |
2.0GB |
4.0GB |
|
DIAGNOSTIC LED(S) | |||
|
LED |
Color |
Status |
Condition |
|
LED1 |
Green |
On |
Tape movement initiated |
|
LED1 |
Green |
Off |
Tape not moving or tape not loaded |
|
Note: LED1 is lit when drive reads all but the beginning of the tape. | |||