CONNER PERIPHERALS, INC.
C4320RT, C4324RP
|
Device Type |
Internal Tape Drive |
|
Interface |
SCSI-2 |
|
Format |
DDS, DDS-DC |
|
Sustained Transfer Rate |
Unidentified |
|
Size |
3.5 in. half height 5.25 in. half height (with bezel) |
|
View |
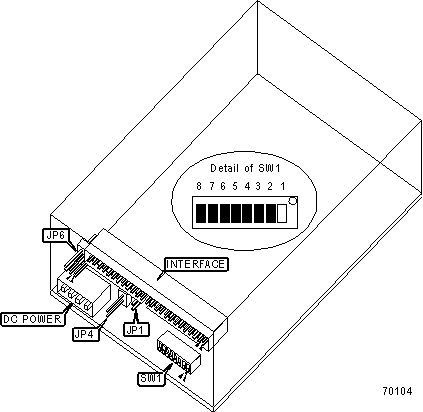
Top |
|
USER CONFIGURABLE SETTINGS | |||
|
Setting |
Label |
Position | |
| » |
Factory configured - do not alter |
JP1 |
Unidentified |
| » |
Factory configured - do not alter |
JP6 |
Unidentified |
| » |
SCSI 2 mode enable |
SW1/4 |
On |
|
SCSI 1 mode enabled |
SW1/4 |
Off | |
| » |
Parity check disabled |
SW1/5 |
Off |
|
Parity check enabled |
SW1/5 |
On | |
| » |
Compression enabled |
SW1/6 |
Off |
|
Compression disabled |
SW1/6 |
On | |
| » |
Factory configured - do not alter |
SW1/7 |
Unidentified |
| » |
Self-test diagnostics disabled |
SW1/8 |
Off |
|
Self-test diagnostics enabled |
SW1/8 |
On | |
|
Note: The tape control software provided has the ability to override SW1/6, regardless of its position. For model C4320RT, SW1/6 is reserved and should be left in the Off position. | |||
|
DRIVE SELECT ID | ||||
|
Drive ID |
SW1/1 |
SW1/2 |
SW1/3 | |
| » |
0 |
Off |
Off |
Off |
|
1 |
On |
Off |
Off | |
|
2 |
Off |
On |
Off | |
|
3 |
On |
On |
Off | |
|
4 |
Off |
Off |
On | |
|
5 |
On |
Off |
On | |
|
6 |
Off |
On |
On | |
|
7 |
On |
On |
On | |
|
TERMINATION POWER SELECTION | ||
|
Setting |
JP4 | |
| » |
TERMPWR supplied by drive |
Open |
|
TERMPWR supplied by SCSI interface to drive |
Closed | |
|
MANUFACTURERS RECOMMENDED MEDIA | |
|
Tape |
Capacity |
|
Conner DAT Data Cassette (60 merter) |
Unidentified |
|
Conner DAT Data Cassette (90 merter) |
Unidentified |
|
DIAGNOSTIC LED(S) | |||
|
LED |
Color |
Status |
Condition |
|
LED1 |
Green |
On |
Drive receiving power and operation normal |
|
LED1 |
Green |
Slow Flash |
Inserted cassette generating errors (warning only) |
|
LED1 |
Green |
Rapid Flash |
Drive could not write correctly to tape |
|
LED1 |
Green |
Off |
No drive power |
|
LED2 |
Amber |
On |
Drive reading from or writing to tape |
|
LED2 |
Amber |
Rapid Flash |
Condensation detected in drive, or hardware fault occured |
|
LED2 |
Amber |
Off |
Drive not active |
|
Note: If LED1 is flashing slowly while LED2 is On, a prerecorded audio cassette is loaded and is being played automatically. | |||