ARTEC
CD-RW 226
|
Device Type |
Internal CD-ROM |
|
Interface |
ATAPI |
|
Spin Rate (Read/Write) |
6x/2x |
|
Formats Supported Read |
CD-XA, CD-DA, CD-R, CD-I, CD-ROM (Mode 1 & Mode 2), Photo-CD, Video CD, CD-Plus, CD-RW, Mixed mode, I-TRAX, UDF, Bootable |
|
Formats Supported Write |
CD-XA, CD-DA, CD-R, CD-I, CD-ROM (Mode 1 & Mode 2), Photo-CD, Video CD, CD-Plus, CD-RW, Mixed mode, I-TRAX, UDF, Bootable |
|
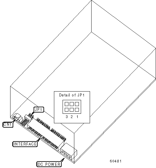
View |
Top |
|
CONNECTIONS | |
|
Function |
Label |
|
Audio line out |
CN1 |
|
ATAPI MASTER/SLAVE SELECTION | |
|
Setting | |
|
Master/Slave determined by cable select |
Pins 3 & 6 closed |
|
Slave in two drive system |
Pins 2 & 5 closed |
|
Master in two drive system |
Pins 1 & 4 closed |