TOSHIBA
SD-M1102-S
|
Device Type |
Internal DVD ROM |
|
Interface |
ATAPI |
|
Spin Rate (Read) |
8x |
|
Formats Supported Read |
CD-XA, CD-I, Photo-CD, Video CD, CD-RW, DVD-ROM, CD-G, CD-DA |
|
View |
Top |
|
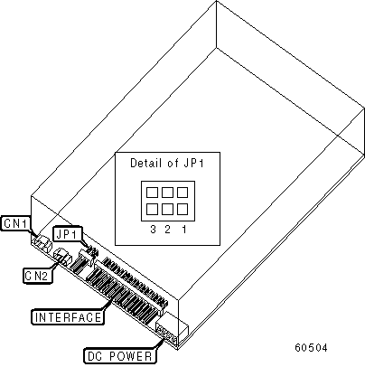
CONNECTIONS | |||
|
Function |
Label |
Function |
Label |
|
Digital audio line out |
CN1 |
Audio line out |
CN2 |
|
ATAPI MASTER/SLAVE | |||
|
Setting |
JP1/1 |
JP1/2 |
JP1/3 |
|
Master in two drive system |
Closed |
Open |
Open |
|
Slave in two drive system |
Open |
Closed |
Open |
|
Master/slave determined by cable select |
Open |
Open |
Closed |